TONTAATSLAGER - SKF 29348 E

01170024

7316576609626

SKF

29348 E

240

240

85

380

EA

Niet op voorraad

10 dag(en) levertijd

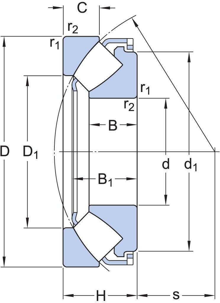
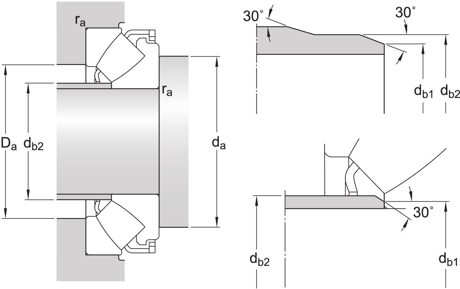
Productomschrijving

Tontaatslagers zijn geschikt voor zeer hoge axiale en aanzienlijke radiale belastingen. Ze hebben het hoogste draaggetal van alle axiale lagers, waardoor compacte lageropstellingen met een hoge vermogensdichtheid mogelijk zijn. Door het combineren van twee of meer tontaatslagers is het mogelijk om een lageropstelling te creëren die ofwel zich instellend is, waardoor uitlijnfouten van de as gecompenseerd kan worden, ofwel zeer stijf.

  • Hoog draagvermogen
  • Geschikt voor gecombineerde belasting
  • Foutieve uitlijning toegestaan of creëert zeer stijve lageropstellingen
  • Lange levensduur en lage wrijving
  • Deelbaar ontwerp